ЩИТКИ УЧЁТА ЭЛЕКТРОЭНЕРГИИ ВЫНОСНОГО ТИПА ТУ BY 400195584.029-2008

- Под заказ
- Оптом и в розницу
Отправка с 28 февраля 2026Цену уточняйте
- +375 (29) 852-13-26
- +375 (17) 282-01-55
Описание
Щитки учёта электроэнергии выносного типа предназначены для приёма и учёта электрической энергии индивидуальных потребителей, а также для защиты от перегрузок и токов короткого замыкания в сетях переменного тока частотой 50 Гц на номинальное напряжение 380/220 В с заземлённой или изолированной нейтралью.
С целью предотвращения хищения электроэнергии щитки учёта устанавливаются вне помещений и имеют несколько вариантов крепления:
- на железобетонных опорах трапециидального сечения;
- на железобетонных приставках трапеции-дального сечения ПТ43-2;
- на выносной стойке;
- на стене помещения.
П р и м е ч а н и я
1. В доме бытового абонента обязательна установка вводного аппарата защиты.
2. Рекомендуется установка щитков на плоской грани трапециидальной опоры.
Конструктивно щиток учёта электроэнергии имеет одно отделение и одну дверь. Дверь выполнена в антивандальном исполнении, имеет жёсткую конструкцию и плотно прилегает к корпусу щитка, петли двери - внутренней установки. Дверь щитка имеет уплотнение из резинового профиля.
На двери щитка расположено окно из ударопрочного материала, предназначенное для снятия показаний счётчика. Снаружи окно закрывается металлической крышкой.
Замок двери щитка выполнен во взломостойком исполнении и имеет единый спецключ с достаточным уровнем секретности, который после монтажа выдаётся только персоналу энергоснабжающей организации. Замок исключает возможность попадания влаги во внутрь и последующее обмерзание (заклинивание) его при отрицательных температурах.
Потребитель не имеет доступ внутрь щитка.
Ввод и вывод проводов осуществляется снизу щитка.
ООсновные параметры щитков приведены в таблице 1.
Габаритные размеры щитков приведены на рисунках 1, 2, схемы электрические принципиальные - на рисунках 3 - 7, способы установки щитков - на рисунках 8 - 11.
Условия эксплуатации:
- наибольшая высота над уровнем моря - не более 1000 м;
- рабочий диапазон температуры окружающей среды: от минус 40 до плюс 40 0С;
- тип атмосферы - II по ГОСТ 15150-69;
- окружающая среда - не содержащая токопроводящей пыли, агрессивных газов и паров в концентрациях, снижающих параметры щитков в недопустимых пределах;
- щитки не предназначены для установки и эксплуатации в сейсмоопасных, взрывоопасных и пожароопасных зонах;
- рабочее положение - вертикальное.
Степень защиты щитка - IP54 по ГОСТ 14254-96.
Вид климатического исполнения - У1 по ГОСТ 15150-69.
СТРУКТУРА УСЛОВНОГО ОБОЗНАЧЕНИЯ

Пример записи условного обозначения щитка учёта электроэнергии выносного типа с одним однофазным счётчиком на номинальное напряжение 220 В, устанавливаемого на опоре, климатического исполнения У1 при его заказе:
Средний срок службы щитков - 15 лет.
Гарантийный срок эксплуатации щитков - два года со дня ввода в эксплуатацию, но не более 30 месяцев со дня отгрузки, при соблюдении условий транспортирования, хранения и эксплуатации.
В комплект поставки входят:
- щиток;
- ключ;
- арматура для установки и крепления щитка в зависимости от способа установки;
- паспорт;
- схема электрическая принципиальная;
- эксплуатационные документы на комплектующую аппаратуру.
Таблица 1
| Тип щитка |
Наименование комплектующих |
Кол. | Номинальный ток, А |
Номинальное напряжение, В |
Примечание | Масса, кг, не более |
| ЩУЭ-11-Х У1 | Счётчик однофазный Выключатель автоматический* Рубильник |
1 1 1 |
10÷100 25÷63 100 |
220 | РI SF SA |
25 |
| ЩУЭ-12-Х У1 | Счётчик однофазный Выключатель автоматический* Рубильник |
2 2 2 |
10÷100 25÷63 100 |
220 | PI1, PI2 SF1, SF2 SA1, SA2 |
38 |
| ЩУЭ-21-Х У1 | Счётчик трёхфазный Выключатель автоматический* Рубильник |
1 1 1 |
10÷100 25÷63 100 |
380 | РI SF SA |
25 |
| ЩУЭ-22-Х У1 | Счётчик трёхфазный Выключатель автоматический* Рубильник |
2 2 2 |
10÷100 25÷63 100 |
380 | PI1, PI2 SF1, SF2 SA1, SA2 |
38 |
| ЩУЭ-32-Х У1 | Счётчик однофазный Счётчик трёхфазный Выключатель автоматический* Рубильник |
1 1 2 2 |
10÷100 10÷100 25÷63 100 |
220 380 220,380 220,380 |
PI1 PI2 SF1, SF2 SA1, SA2 |
38 |
| Примечания 1. * Допускается установка дифференциального автомата. 2. Х - способ установки щитка (1, 2, 3, 4). |
||||||
Габаритные размеры
![]() |
![]() |
Рисунок 1 – ЩУЭ с одним счётчиком |
Рисунок 2 – ЩУЭ с двумя счётчиками |
Схемы электрические принципиальные
Вариант 1 |
Вариант 2 |
![]() |
![]() |
Рисунок 3 – ЩУЭ-11-Х У1 |
|
Вариант 1 |
Вариант 2 |
![]() |
![]() |
Рисунок 4 – ЩУЭ-12-Х У1 |
|
Вариант 1 |
Вариант 2 |
![]() |
![]() |
Рисунок 5 – ЩУЭ-21-Х У1 |
|
Вариант 1 |
Вариант 2 |
![]() |
![]() |
Рисунок 6 – ЩУЭ-22-Х У1 |
|
Вариант 1 |
Вариант 2 |
![]() |
![]() |
Рисунок 7 – ЩУЭ-32-Х У1 |
|
Способы установки
![]() |
Рисунок 8 – Способ установки щитка ЩУЭ на железобетонной опоре |
![]() |
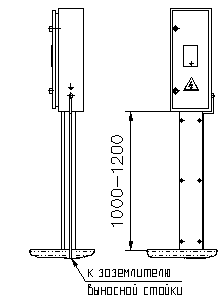
Рисунок 9 – Способ установки щитка ЩУЭ на выносной стойке |
![]() |
Рисунок 10 – Способ установки щитка ЩУЭ на стене помещения |
Вариант 1 – Ввод воздушный |
Вариант 2 – Ввод кабельный |
![]() |
![]() |
Рисунок 11 – Способ установки щитка ЩУЭ на железобетонной приставке ПТ43-2 |
|
Характеристики
| Основные | |
|---|---|
| Тип продукции | Готовый продукт |
| Производитель | Союз |
| Страна производитель | Беларусь |
Информация для заказа
- Цена: Цену уточняйте

















