ПРЕДОХРАНИТЕЛИ ПКЖ106 УХА2 (У2)

- В наличии
- Оптом и в розницу
Цену уточняйте
+375 (29) 655-38-74
- +375 (29) 852-13-26
- +375 (17) 282-01-55
возврат товара в течение 14 дней по договоренности
Описание

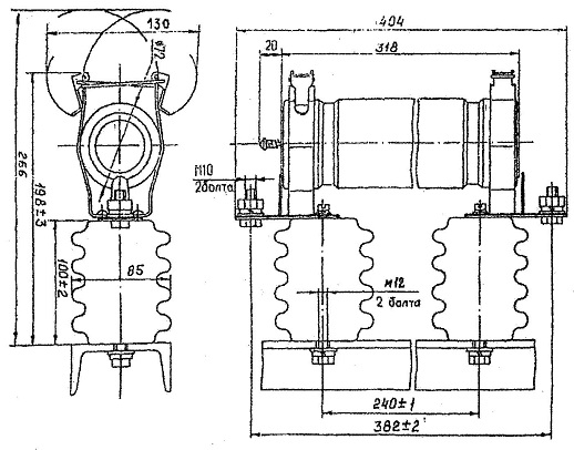
Габаритные, установочные и присоединительные размеры предохранителей высоковольтных типа ПКЖ 106

Предохранители серии ПКЖ107 исполнения УХА2 и У2
Номинальное напряжение - 3 кВ.
Номинальный ток - 40 А.

Габаритные, установочные и присоединительные размеры предохранителей высоковольтных типа ПКЖ 106

Отключение тока короткого замыкания в предохранителях обеспечи вается за счет интенсивной деионизации дуги, возникающей на месте пролегания плавких элементов в узких щелях между песчинками наполнителя. Срабатывание патрона определяется по указателю срабатывания, выдвигающемуся наружу под воздействием пружины после расплавления указательного плавкого элемента.
Характеристики
| Основные атрибуты | |
|---|---|
| Производитель | Чебоксарский Завод ДСО |
| Номинальное рабочее напряжение | 10 кВ |
| Страна производитель | Россия |
Информация для заказа
- Цена: Цену уточняйте
